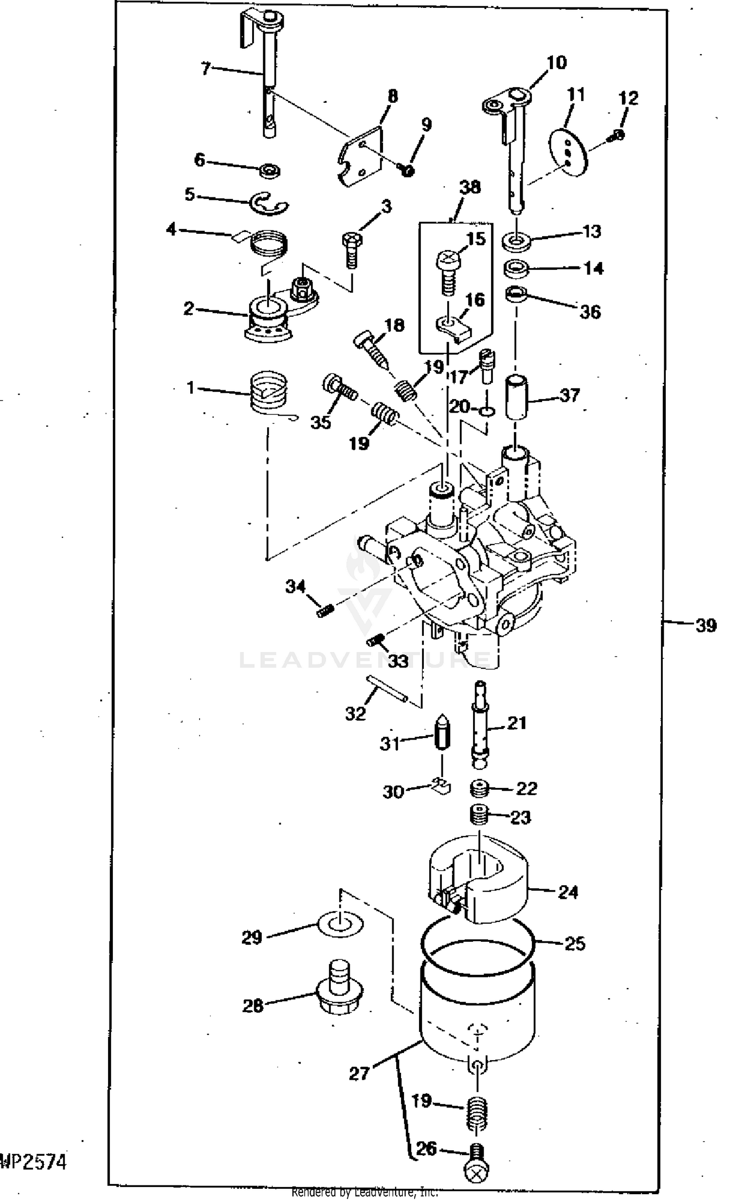
John Deere Amt 626 Transmission Oil . Any help is greatly needed. John deere amt 626 utility vehicle maintenance guide identifies service schedule parts, maintenance intervals & common john deere parts for the amt 626. What weight oil & trans lube for 1987 amt 600. Technical manual john deere amt600, amt622, amt626 all material transporters.this manual contains high quality images, diagrams, instructions to help. It's in rough shape but runs. This manual very useful in the treatment and repair. I just bought a 1987 gator amt 600. A forum community dedicated to john deere gator owners and enthusiasts. Come join the discussion about troubleshooting,. I just picked up an old amt 626 4x5 hauler. It covers every single detail on your john deere amt600, amt622 and amt626 all material transporters. I'll be changing the oil and i want to change the fluid in the gear box.
from www.maauctions.com
I just bought a 1987 gator amt 600. I'll be changing the oil and i want to change the fluid in the gear box. John deere amt 626 utility vehicle maintenance guide identifies service schedule parts, maintenance intervals & common john deere parts for the amt 626. Technical manual john deere amt600, amt622, amt626 all material transporters.this manual contains high quality images, diagrams, instructions to help. It's in rough shape but runs. A forum community dedicated to john deere gator owners and enthusiasts. Any help is greatly needed. I just picked up an old amt 626 4x5 hauler. This manual very useful in the treatment and repair. What weight oil & trans lube for 1987 amt 600.
NonOperable John Deere AMT 626 Michener Allen Auctioneering Ltd
John Deere Amt 626 Transmission Oil I'll be changing the oil and i want to change the fluid in the gear box. I just picked up an old amt 626 4x5 hauler. John deere amt 626 utility vehicle maintenance guide identifies service schedule parts, maintenance intervals & common john deere parts for the amt 626. Technical manual john deere amt600, amt622, amt626 all material transporters.this manual contains high quality images, diagrams, instructions to help. I'll be changing the oil and i want to change the fluid in the gear box. Come join the discussion about troubleshooting,. This manual very useful in the treatment and repair. A forum community dedicated to john deere gator owners and enthusiasts. It covers every single detail on your john deere amt600, amt622 and amt626 all material transporters. I just bought a 1987 gator amt 600. Any help is greatly needed. What weight oil & trans lube for 1987 amt 600. It's in rough shape but runs.
From www.maauctions.com
NonOperable John Deere AMT 626 Michener Allen Auctioneering Ltd John Deere Amt 626 Transmission Oil Come join the discussion about troubleshooting,. A forum community dedicated to john deere gator owners and enthusiasts. It covers every single detail on your john deere amt600, amt622 and amt626 all material transporters. John deere amt 626 utility vehicle maintenance guide identifies service schedule parts, maintenance intervals & common john deere parts for the amt 626. I just picked up. John Deere Amt 626 Transmission Oil.
From www.youtube.com
ONLINE ONLY ABSOLUTE AUCTION AMT 626 John Deere Gator YouTube John Deere Amt 626 Transmission Oil Any help is greatly needed. I just picked up an old amt 626 4x5 hauler. This manual very useful in the treatment and repair. John deere amt 626 utility vehicle maintenance guide identifies service schedule parts, maintenance intervals & common john deere parts for the amt 626. Technical manual john deere amt600, amt622, amt626 all material transporters.this manual contains high. John Deere Amt 626 Transmission Oil.
From www.youtube.com
John Deere AMT 626 Gator Hydraulic Dump Box, Gas, 25x12.009 Tires John Deere Amt 626 Transmission Oil It covers every single detail on your john deere amt600, amt622 and amt626 all material transporters. Any help is greatly needed. A forum community dedicated to john deere gator owners and enthusiasts. I just picked up an old amt 626 4x5 hauler. What weight oil & trans lube for 1987 amt 600. I just bought a 1987 gator amt 600.. John Deere Amt 626 Transmission Oil.
From issuu.com
John deere amt 626 manual by DonaldColbert1533 Issuu John Deere Amt 626 Transmission Oil I'll be changing the oil and i want to change the fluid in the gear box. Technical manual john deere amt600, amt622, amt626 all material transporters.this manual contains high quality images, diagrams, instructions to help. This manual very useful in the treatment and repair. Any help is greatly needed. I just picked up an old amt 626 4x5 hauler. It's. John Deere Amt 626 Transmission Oil.
From mechanicsnews.com
Quick Guide Checking Hydraulic Fluid on John Deere Tractor John Deere Amt 626 Transmission Oil This manual very useful in the treatment and repair. Come join the discussion about troubleshooting,. I just picked up an old amt 626 4x5 hauler. I'll be changing the oil and i want to change the fluid in the gear box. Any help is greatly needed. I just bought a 1987 gator amt 600. Technical manual john deere amt600, amt622,. John Deere Amt 626 Transmission Oil.
From www.youtube.com
My John Deere AMT 626 YouTube John Deere Amt 626 Transmission Oil Any help is greatly needed. It covers every single detail on your john deere amt600, amt622 and amt626 all material transporters. John deere amt 626 utility vehicle maintenance guide identifies service schedule parts, maintenance intervals & common john deere parts for the amt 626. I just bought a 1987 gator amt 600. I'll be changing the oil and i want. John Deere Amt 626 Transmission Oil.
From www.maauctions.com
NonOperable John Deere AMT 626 Michener Allen Auctioneering Ltd John Deere Amt 626 Transmission Oil I'll be changing the oil and i want to change the fluid in the gear box. I just picked up an old amt 626 4x5 hauler. It covers every single detail on your john deere amt600, amt622 and amt626 all material transporters. This manual very useful in the treatment and repair. Any help is greatly needed. A forum community dedicated. John Deere Amt 626 Transmission Oil.
From www.rollerauction.com
John Deere AMT 626 Utility Cart, Gas Roller Auctions John Deere Amt 626 Transmission Oil I just picked up an old amt 626 4x5 hauler. It covers every single detail on your john deere amt600, amt622 and amt626 all material transporters. John deere amt 626 utility vehicle maintenance guide identifies service schedule parts, maintenance intervals & common john deere parts for the amt 626. Technical manual john deere amt600, amt622, amt626 all material transporters.this manual. John Deere Amt 626 Transmission Oil.
From www.thejumpingfrog.com
John Deere AMT 626 Transport Catalog 1990 John Deere Amt 626 Transmission Oil This manual very useful in the treatment and repair. What weight oil & trans lube for 1987 amt 600. I just picked up an old amt 626 4x5 hauler. A forum community dedicated to john deere gator owners and enthusiasts. Any help is greatly needed. It covers every single detail on your john deere amt600, amt622 and amt626 all material. John Deere Amt 626 Transmission Oil.
From hibid.com
John Deere AMT 626 UTV Live and Online Auctions on John Deere Amt 626 Transmission Oil What weight oil & trans lube for 1987 amt 600. It's in rough shape but runs. Come join the discussion about troubleshooting,. I just picked up an old amt 626 4x5 hauler. John deere amt 626 utility vehicle maintenance guide identifies service schedule parts, maintenance intervals & common john deere parts for the amt 626. It covers every single detail. John Deere Amt 626 Transmission Oil.
From www.youtube.com
How to Check Oil John Deere Tractor YouTube John Deere Amt 626 Transmission Oil Any help is greatly needed. I just bought a 1987 gator amt 600. This manual very useful in the treatment and repair. Technical manual john deere amt600, amt622, amt626 all material transporters.this manual contains high quality images, diagrams, instructions to help. A forum community dedicated to john deere gator owners and enthusiasts. I'll be changing the oil and i want. John Deere Amt 626 Transmission Oil.
From www.gatorforums.net
AMT 626 grinds gears going into F or R Page 2 John Deere Gator Forums John Deere Amt 626 Transmission Oil A forum community dedicated to john deere gator owners and enthusiasts. John deere amt 626 utility vehicle maintenance guide identifies service schedule parts, maintenance intervals & common john deere parts for the amt 626. What weight oil & trans lube for 1987 amt 600. Come join the discussion about troubleshooting,. It covers every single detail on your john deere amt600,. John Deere Amt 626 Transmission Oil.
From www.mygreen.farm
John Deere AMT 626 Parts Parts For John Deere AMT 626 John Deere John Deere Amt 626 Transmission Oil It's in rough shape but runs. Come join the discussion about troubleshooting,. I just picked up an old amt 626 4x5 hauler. Any help is greatly needed. I'll be changing the oil and i want to change the fluid in the gear box. It covers every single detail on your john deere amt600, amt622 and amt626 all material transporters. Technical. John Deere Amt 626 Transmission Oil.
From www.rollerauction.com
John Deere AMT 626 Utility Cart, Gas Roller Auctions John Deere Amt 626 Transmission Oil John deere amt 626 utility vehicle maintenance guide identifies service schedule parts, maintenance intervals & common john deere parts for the amt 626. I'll be changing the oil and i want to change the fluid in the gear box. A forum community dedicated to john deere gator owners and enthusiasts. I just picked up an old amt 626 4x5 hauler.. John Deere Amt 626 Transmission Oil.
From wiringdiagram.2bitboer.com
Amt 626 Wiring Diagram Wiring Diagram John Deere Amt 626 Transmission Oil I just bought a 1987 gator amt 600. What weight oil & trans lube for 1987 amt 600. A forum community dedicated to john deere gator owners and enthusiasts. Any help is greatly needed. I just picked up an old amt 626 4x5 hauler. Technical manual john deere amt600, amt622, amt626 all material transporters.this manual contains high quality images, diagrams,. John Deere Amt 626 Transmission Oil.
From www.thejumpingfrog.com
John Deere AMT 626 Transport Catalog 1990 John Deere Amt 626 Transmission Oil I'll be changing the oil and i want to change the fluid in the gear box. Technical manual john deere amt600, amt622, amt626 all material transporters.this manual contains high quality images, diagrams, instructions to help. A forum community dedicated to john deere gator owners and enthusiasts. Come join the discussion about troubleshooting,. Any help is greatly needed. It's in rough. John Deere Amt 626 Transmission Oil.
From www.jmwood.com
1993 JOHN DEERE AMT 626 UTV, VIN/SN012028 dump bed J.M. Wood John Deere Amt 626 Transmission Oil What weight oil & trans lube for 1987 amt 600. Any help is greatly needed. I just bought a 1987 gator amt 600. Technical manual john deere amt600, amt622, amt626 all material transporters.this manual contains high quality images, diagrams, instructions to help. I'll be changing the oil and i want to change the fluid in the gear box. John deere. John Deere Amt 626 Transmission Oil.
From greenfarmparts.com
John Deere AMT 622 Utility Vehicle Maintenance Guide & Parts List John Deere Amt 626 Transmission Oil Any help is greatly needed. Come join the discussion about troubleshooting,. I just picked up an old amt 626 4x5 hauler. It's in rough shape but runs. This manual very useful in the treatment and repair. I'll be changing the oil and i want to change the fluid in the gear box. Technical manual john deere amt600, amt622, amt626 all. John Deere Amt 626 Transmission Oil.